ne斗式提升機-斗式提升機型號|參數|結構圖
板鏈ne30斗式提升機介紹
NE型斗式提升機是應用最廣泛的一種垂直提升設備,該機適用于中、大塊和有磨琢性的物料(如石灰石、水泥熟料、石膏、塊煤)的垂直輸送,物料溫度在 250℃以下。NE型板鏈斗式提升機是由國外引進先進技術研制的新產品。

NE型斗式提升機工作原理
NE型斗式提升機系流入式喂料,物料流入料斗內靠板鏈提升到頂端,在物料重力作用下自行卸料。本系列提升機規格多(NE15~NE800共11種)提升量廣;且生產能高,能耗較低,該機采用全封式機殼鏈速低,幾乎無回料現象,因此無功功率損耗少,噪聲低,壽命長。
NE型斗式提升機參數表
板鏈ne30斗式提升機cad圖紙總圖
產品特點
1.密封性好,環境污染少。
2.操作、維修方便、易損件少。
3.使用成本低,由于節能和維修少,使用成本極低。
4.運行可靠,先進的設計原理,保證整機運行的可靠性,密封性好。環境污染少。
5.結構港型號,精度高。機殼經折邊和中間壓筋,再經焊接,剛性好、外觀漂亮。
6.機械尺寸小,與同等提升量的其它各種提升機相比,這種提升機的機械尺寸較小。
7.輸送能力大,該系列提升機具有NE15~NE800多種規格。提升量范圍為15~800m3/h。
8.操作方便,維修少,易損件少。輸送鏈為套筒滾子鏈,誘導式重力卸料,用于各種粉狀、塊狀物粒的垂直提升。
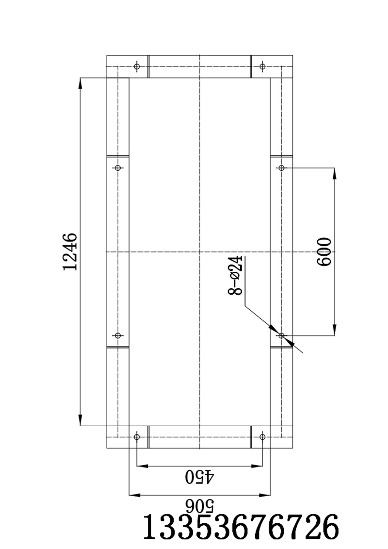
板鏈ne30斗式提升機cad基礎安裝圖紙
河南奧創斗式提升機結構圖紙繪畫、價格計算、廠家真機圖片展示,及到廠實地考察接待,歡迎實地考察!
訂購網址請登錄河南奧創機械有限公司官方網站:m.sobang.com.cn 24小時服務熱線:13353676726


